|
|
||||
Dieser CASIO TV-100N aus dem Jahr 1993 mit seinem geradezu winzigen LCD gehörte (zumindest in Deutschland) zu den vergleichsweise weit verbreiteten Taschenfernsehern. Leider, denn die Qualität des Displays war für das Image der Produktgattung "Taschenfernseher" sicherlich alles andere als förderlich. Aufgrund der einfachen Technik und der geringen Diagonale von 41 mm (1,6 Zoll) ist auf dem Bildschirm eigentlich kaum etwas zu erkennen. Abgesehen von einer albernen (aber branchenüblichen) Fotomontage ist den Werbestrategen dazu auch recht wenig eingefallen.
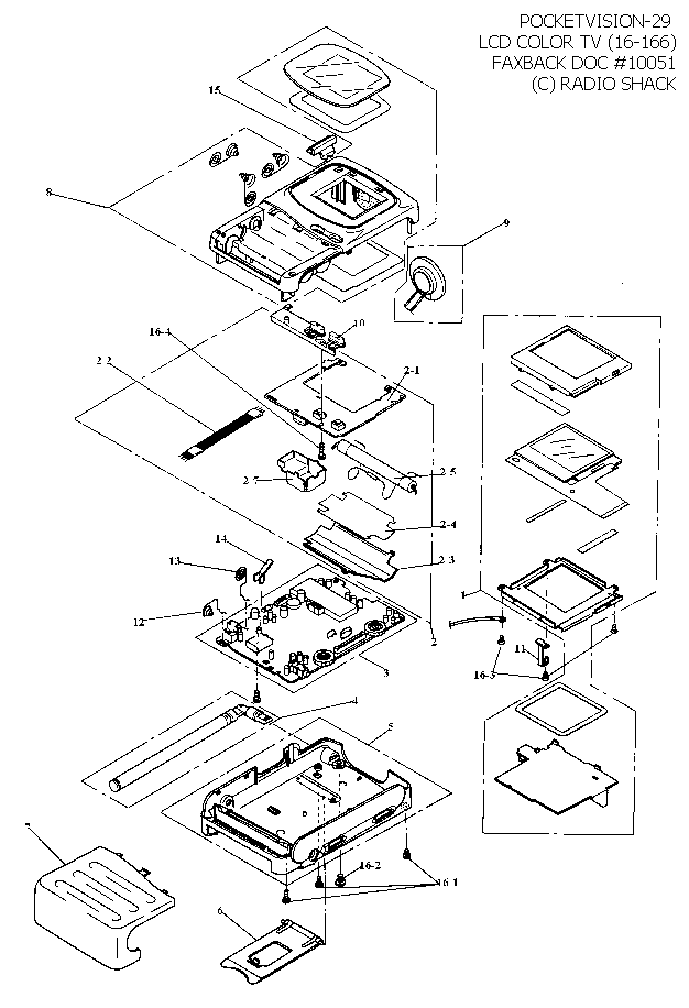
In den USA gab es den TV-100 von CASIO auch in bicolor-gelb und bei Radio Shack unter der Bezeichnung Pocketvision 29. Im Jahr 1994 kostete der TV-100 in England knapp 80 Pfund, das entsprach damals gut 200 DM. In Japan wurde er in diversen Farben für 11.500 Yen angeboten, das waren 1993 etwa 150 DM. Ziemlich selten ist die Sonderedition mit AM/FM-Kopfhörer vom Typ RH-100.
Falls jemand ihren TV-100 in seine Einzelteile zerlegt hat, hilft vielleicht diese Explosionszeichnung beim Zusammenbau. Viele weitere technische Details und umfangreiche Innenansichten findet man in diesem kroatischen Blog.
Die Leistungsaufnahme der europäischen Ausführung beträgt des TV-100 beträgt laut Typenschild 2,9 Watt, keine besonderen Extras, mit 4 Mignon-Akkus knapp 280 Gramm leicht. Made in Malaysia.
Gebrauchswert:![]()
Sammlerwert:![]()
P.S. In Teilen Europas sowie in Japan war 1994 ein sehr ähnliches Gerät mit AM/FM Radio als CASIO TV-160
erhältlich. Er kostete im Land der
aufgehenden Sonne seinerzeit 17.000 Yen, das
entsprach etwa 220 DM.



Zwischen 1999 und 2002 war der CASIO TV-880 das Flaggschiff der "kleinen Passiven" des Marktführers hier in Europa. Die Bildqualität wurde durch allerlei technische Raffinessen optimiert ("The New Standard for LCD Image Clarity"), reicht aber noch nicht an ein TFT-Modell heran. Originalton CASIO: Super-Passiv-Matrix (Ti*STN) mit TOP-ITO-Farbfilter, High Kontrast Schaltung und Anti-Reflex-Eigenschaft.
Was darunter zu verstehen ist, wird in einer Pressemitteilung folgendermaßen beschrieben: Bei einem TOP-ITO Display werden die Flüssigkristalle von durchsichtigen Elektroden versorgt, die über dem Farbfilter positioniert sind. Das Ergebnis ist eine um 30% erhöhte Transparenz und eine Kontraststeigerung von 50% verglichen mit den vorherigen LCD-Modellen. Durch die Verwendung von deltaförmigen Filter-Partikeln wurde auch die Detail-Abbildung nochmals deutlich verbessert. Na gut, das Display (58 mm / 39.600 Pixel) ist einigermaßen OK und eine A/V-Buchse (3,5 mm) findet sich erfreulicherweise auch. Nur mit einer Antennenbuchse sieht's bei diesem Exemplar mehr als schlecht aus.
Der TV-880N wurde zur Jahrtausendwende erstaunlich oft in den Verkaufsprospekten bekannter Elektronikhändler gesichtet. Eine mehrsprachige Bedienungsanleitung zu diesem Modell hat CASIO selbst im Internet bereitgestellt. In Japan wurde der TV-880 im Jahr 1999 vorgestellt, er kostete damals 12.000 Yen (knapp 180 DM). Es gab ihn wahlweise im Karton (oben rechts) oder im Blister (oben links, manchmal auch mit Batterien).
Das europäische Modell verbraucht laut Typenschild 3,1 Watt und wiegt mit vier 4 Mignon-Akkus knapp 290 Gramm. Made in Malaysia.



Der CASIO TV-470 aus dem Jahr 1991 gehört aufgrund des besonders großen Gebrauchtangebotes offenbar zu den sehr häufig verkauften Taschenfernsehern. Das passive Farbdisplay hat eine Diagonale von 54 mm und wie bei fast allen Geräten mit Farb-LCD erfolgt die Senderwahl per Suchlauf. Neben einem Netzteil- und einem Kopfhöreranschluss verfügt der TV-470 über eine Antennenbuchse, die in der deutschen Version jedoch mit einem (leicht entfernbaren) Stöpsel verschlossen ist.
Im britischen Versandhandel wurde der CASIO seinerzeit für knapp 90 Britische Pfund angeboten, das waren damals umgerechnet etwa 260 DM. Im Maplin Catalog 1994/1995 taucht der TV-470 für knapp 100 Pfund auf. Ein lesenswerter Testbericht zu diesem Gerät (und einigen Mitbewerbern) findet sich in der - längst eingestellten - Fachzeitschrift Hifi-Vision, Ausgabe Juni 1993, im "Extrablatt Video Vision". Allerlei technische Details zu den Varianten des TV-470 findet man in der mehrsprachigen Bedienungsanleitung.
Wenn man ein bisschen im Internet stöbert, findet man eine Bart-Simpson Version des TV-470, und auch als Werbeträger musste dieser Taschenfernseher herhalten, u.a. für den "Duft der großen weiten Welt" von Peter Stuyvesant. CASIO selbst empfahl Eltern in einer Zeitungsannonce, lange Autofahrten mit dem TV-470 zu verkürzen, auch wenn das in der Praxis nie wirklich gut funktionierte. In den USA wurde das Gerät bei Radio Shack unter der Bezeichnung Pocketvision 25 angeboten.
Zwei Dualnorm-Varianten dieses Modells waren (in einem etwas dickeren Gehäuse) unter Bezeichnung CASIO TV-475 erhältlich - eine für Osteuropa (TV-475W, TV-Standard PAL/SECAM D/K) und eine für Südamerika (TV-475V, PAL M/N).
Die Leistungsaufnahme meines in der Mitte abgebildeten TV-470N liegt laut Typenschild bei 2,7 Watt. Mit 4 Mignon-Akkus wiegt das Teil knapp 330 Gramm. Made in Japan.
Gebrauchswert:![]()
Sammlerwert:
(schwarze Standardversion)
P.S. Die oben links abgebildete Hello-Kitty-Version trägt die Modellbezeichung TV-470S, wobei das "S" in diesem Fall nicht für die unterstützten TV-Standards nach dem üblichen Schema steht.
P.P.S. Mindestens optisch ein Zwilling: Der japanische CASIO TV-220 kam 1994 in vielen Farben und einer herrlich bunten Verpackung daher.



Simulated TV picture heißt es klein und bescheiden im Prospekt des CASIO TV-3100 aus dem Jahr 1988. Das ist ziemlich freundlich umschrieben, denn auf der Abbildung steht das Gerät in der prallen Sonne und stellt ein bewegtes Motiv in kräftig leuchtenden Farben dar. Ob der Fotograf wenigstens einen kurzen Blick auf das geworfen hat, was ein solcher Fernseher unter diesen Bedingungen tatsächlich anzeigt? Dabei ist der TV-3100 mitnichten ein schlechter Taschenfernseher, aber die Vorstellung der Werbefachleute nimmt halt nur selten Rücksicht auf technische Gegebenheiten.
Der TV-3100 gehört zu den Größten unter den Kleinen: Außenmaße 92 * 133 * 33 mm, Bildschirmdiagonale 3,3" gleich 83 mm. Dank einer A/V-Buchse (3,5 mm) kann der CASIO gut als Videomonitor eingesetzt werden. Laut Bedienungsanleitung reicht ein Alkaline-Batteriesatz für 3 Stunden TV-Betrieb. In Deutschland lag die unverbindliche Preisempfehlung bei 599 DM.
Die Leistungsaufnahme meines TV-3100 beträgt laut Typenschild 4,6 Watt, das Gewicht liegt inklusive 6 Mignon-Akkus bei 430 Gramm. Made in Japan.
Gebrauchswert:![]()
Sammlerwert:![]()


Unterschied, wo bist Du? Dieser CASIO TV-101 aus dem Jahr 1994 sieht dem TV-100 nicht nur sehr ähnlich, auch die inneren Werte scheinen ziemlich gleich: Das passive 1,6 Zoll Display (41 mm) ist weiterhin echt lausig und das Verhältnis "Displaydiagonale zu Gerätegröße" ebenso. Auch die Ausstattung könnte kaum bescheidener sein: Es wird nur ein TV-Standard unterstützt (in diesem Fall der japanische) und ein A/V-oder Antennen-Eingang fehlt. Immerhin gibt's Buchsen für einen Kopfhörer und eine externe Stromquelle.
Und wenn ich es richtig überblicke entspricht der 101er dem US-Modell CASIO TV-110 ... zumindest optisch und hinsichtlich der technische Daten. Die Leistungsaufnahme dieses TV-101 beträgt laut Typenschild 2,9 Watt, das Gewicht liegt inklusive 4 Mignon-Akkus bei knapp 290 Gramm. Made in (genauso wie der TV-100N und der TV-110B) Malaysia.
Gebrauchswert:![]()
Sammlerwert:![]()

Quasi der "große Bruder" des CASIO TV-3100: Dieser recht wuchtige CASIO TV-3110 war nicht nur den meisten Länder Mitteleuropas nutzbar, er ist (auch heute noch) in denjenigen östlichen Regionen funktionsfähig, die noch den analogen TV-Standard SECAM B/G oder H verwenden - das werden aber zusehends weniger. Großer Bruder nicht alleine wegen des erweiterten Empfangsbereiches, sondern auch aufgrund der Abmessung: Der TV-3110 ist im Vergleich zum 3100er nochmals rund einen Zentimeter länger geraten.
Die restlichen technischen Daten klingen ebenfalls vertraut: Passives 83 mm Display ("High Qualitiy Matrix"), A/V-Buchse (3,5 mm), gemächlicher Sendersuchlauf. Das abgebildete Exemplar wurde Ende 1991 auf einer spanischen Ferieninsel für 27.000 Peseten erworben, das waren damals immerhin rund 420 DM. Und da es nicht für den deutschen Markt bestimmt war (meine Bedienungsanleitung spricht Englisch und Spanisch), besitzt das Gerät sogar eine Antennenbuchse.
Die Leistungsaufnahme dieses TV-3110F beträgt laut Typenschild 4,7 Watt, das Gewicht liegt inklusive 6 Mignon-Akkus bei 460 Gramm. Made in Japan.
Gebrauchswert:![]()
Sammlerwert:![]()


Irgendwann in den 90ern hat mir CASIO Deutschland freundlicherweise ein paar alte Taschenfernseher-Prospekte und Annoncen zur Verfügung gestellt. Mit dabei waren auch Geräte, die es in Deutschland gar nicht, und im Rest der Welt nur sehr selten gibt. So wie dieser gelenkige CASIO TV-7000. Mein Exemplar ist für den japanischen Markt bestimmt und stammt aus dem Jahr 1989, grundsätzlich scheint der TV-7000 jedoch schon ab 1987 gebaut worden zu sein.
Das schwenkbare Display ist zwar mit einer Diagonale von 3,3 Zoll bzw. 83 mm schön groß, aber von mäßiger Qualität, auch wenn im Prospekt von „High Resolution / High Quality“ die Rede ist. Anschlüsse für Antenne, Kopfhörer und A/V sind jeweils in Form einer 3,5 mm Klinkenbuchse vorhanden. Die Ausführung für den US-Markt hört (meistens?) auf den Namen TV-7000T, dieses "japanische" Exemplar heißt TV-7000S. Die kleinen angehängten Buchstaben stehen in diesem Fall nicht für die unterstützten TV-Standards nach dem üblichen Schema.
Beide Modelle sind ausschließlich für den stationäre Einsatz konzipiert und verfügen daher über kein Batteriefach. Die maximale Leistungsaufnahme liegt laut Typenschild für beide Modelle bei 4,1 Watt, auch wenn im Prospekt von 4,5 Watt die Rede ist. Der 7000er misst zusammengeklappt 143 * 122 * 120 mm und wiegt rund 450 Gramm. Made in Japan.
Gebrauchswert:![]()
Sammlerwert:![]()


Zwischen all den schlichten, rechteckigen Kästchen dieser Kategorie fällt der CASIO TV-570 ("BeBi") mit seinem rundlichen "Sonnenschutz-Design" wohltuend auf. Allerdings steckt in dem ulkigen Gehäuse nur recht biedere Technik in Form eines einfachen Passivdisplays mit 55 mm Diagonale. Immerhin finden sich ein verstöpselter Antennenanschluss und ein A/V-Eingang. Wie üblich bei CASIO, greifen auch diesmal die Verpackungsdesigner wieder zum beliebten, aber unrealistischen Sportmotiv: Fußball in Deutschland, Tennis in Japan.
Ein Blick auf die Innereien des TV-570N zeigt uns u.a. eine klassische Glassicherung. Sprich: Wenn sich das Gerät komplett tot stellt, sollte man als erstes hier suchen. Im Sears-Katalog von 1992 wurde der TV-570 zusammen mit einem "Car-Kit" für 349$ angeboten.
Die Leistungsaufnahme meines BeBi liegt laut Typenschild bei 3,2 Watt, mit 4 Mignon-Akkus wiegt dieser TV-570N knapp 380 Gramm. Made in Japan.
Gebrauchswert:![]()
Sammlerwert:![]()